Regular price$157.65 USD
& FREE Shipping.
/
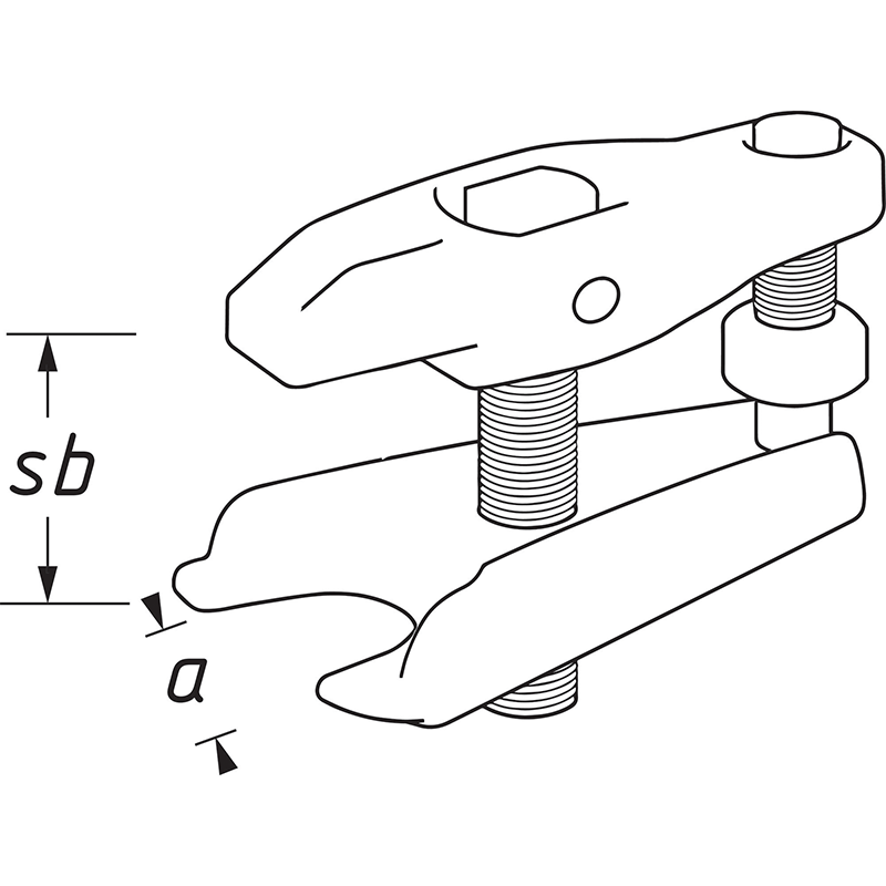
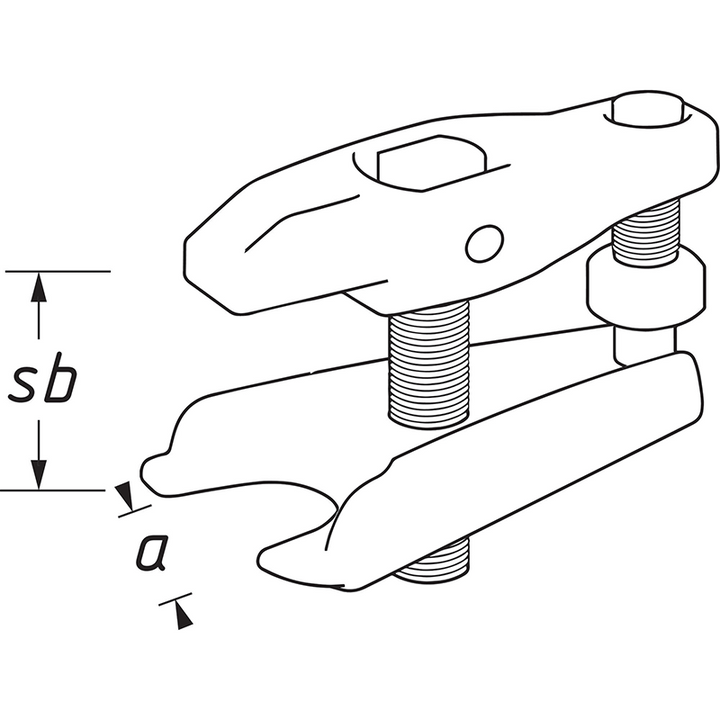
- Great clamping range due to continuous vertical adjustment and turn-over of the lower part
- Made in Germany
