Regular price$366.24 USD
& FREE Shipping.
/
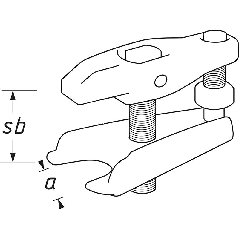
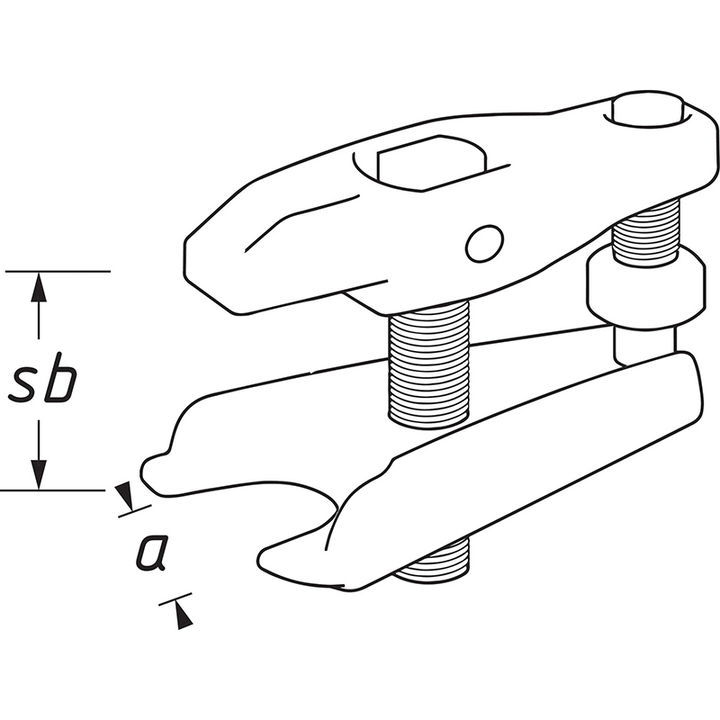
- Clamping range: 50–80 mm
- Length of the jaw: 35 mm
- Jaw opening (a) mm: 20
- Made in Germany
