Regular price$376.61 USD
& FREE Shipping.
/
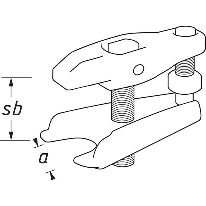
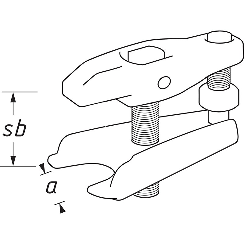
- Jaw opening (a) mm: 32
- Clamping range: 85 mm
- Sturdy design and deep location groove enable a safe and universal application, e.g. for light commercial vehicles
- For the most common vehicles
