Regular price$513.21 USD
& FREE Shipping.
/
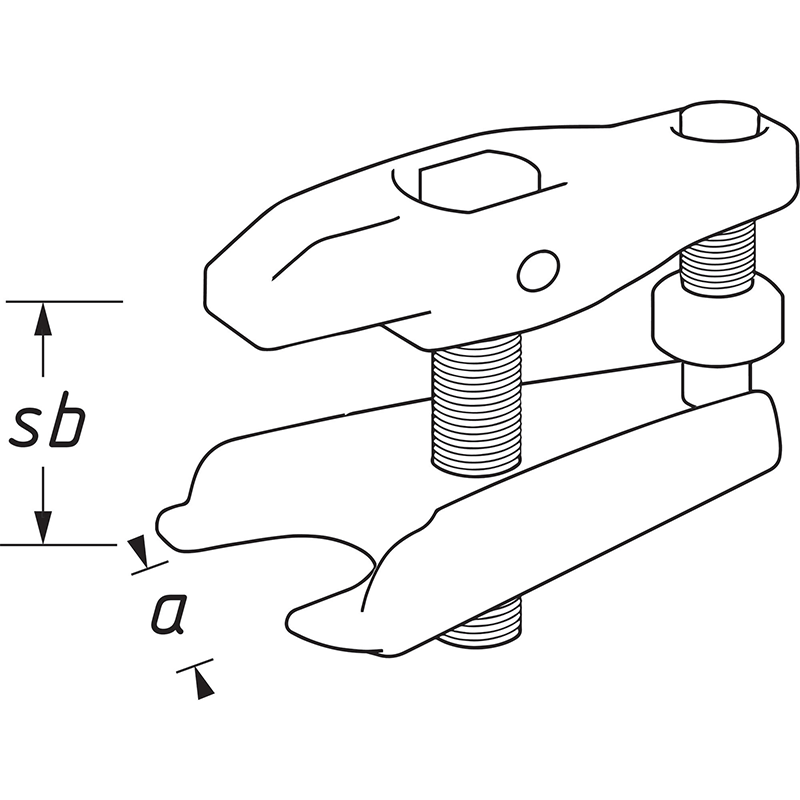
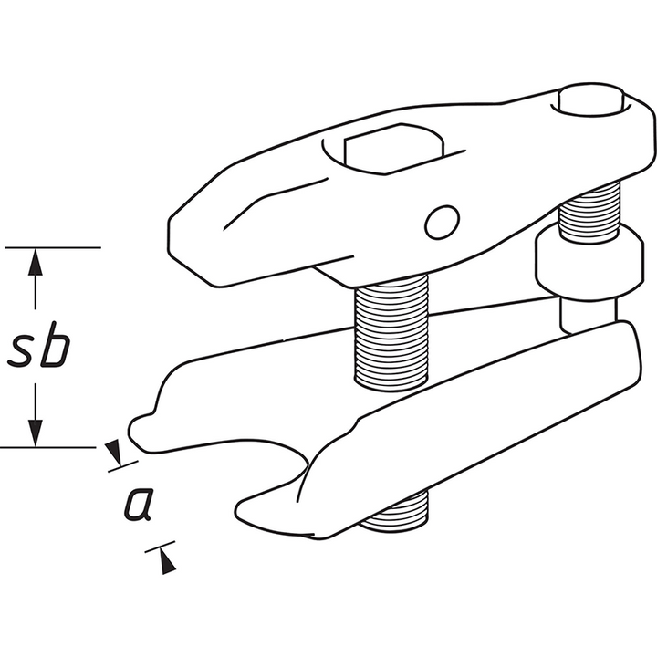
- Surface: galvanized, passivated (free from Cr 6)
