Regular price$712.02 USD
& FREE Shipping.
/
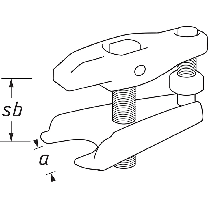
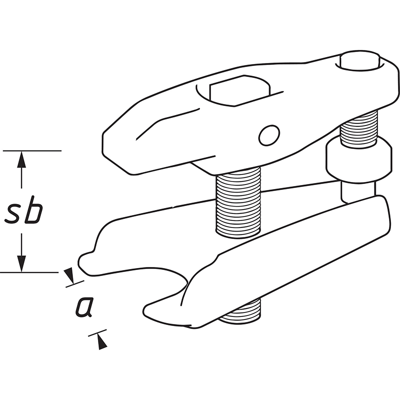
- Supported by hydraulic system
- For passenger cars ∙ vans ∙ commercial vehicles
- Load maximum 12 tonnes
