Regular price$999.21 USD
& FREE Shipping.
/
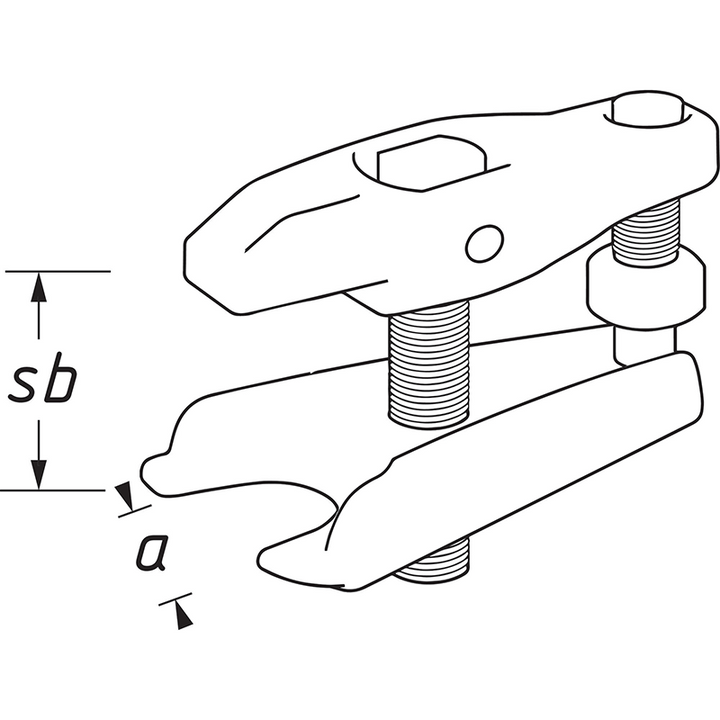
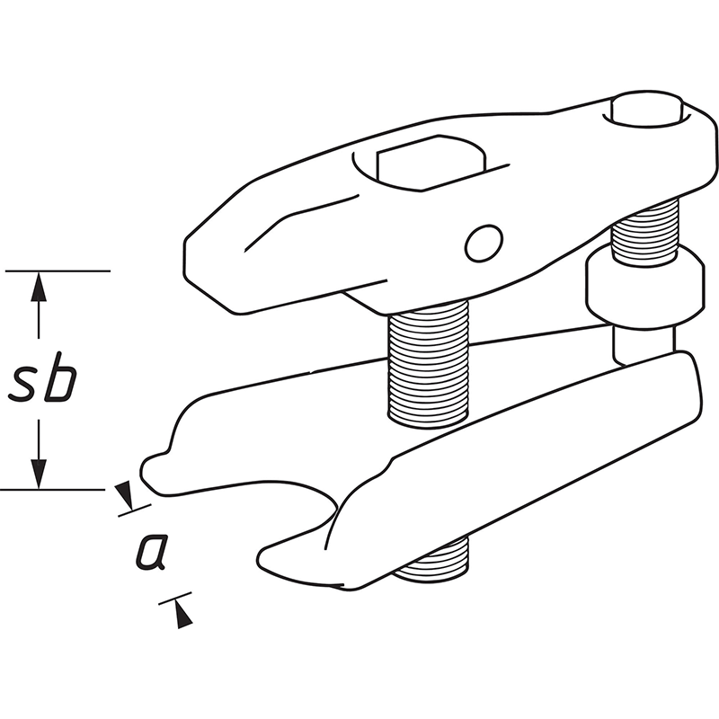
- Supported by hydraulic system
- For commercial vehicles, buses and building machinery
- Load maximum 12 tonnes
- Surface: galvanized, yellow passivated (free from Cr 6)
