Regular price$49.89 USD
& FREE Shipping.
/
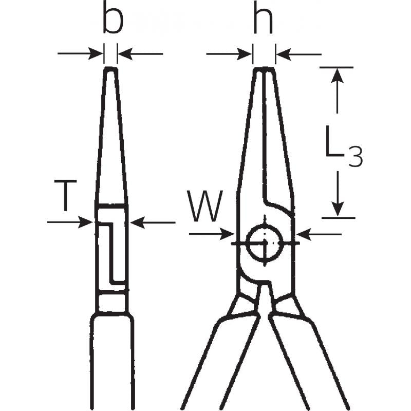
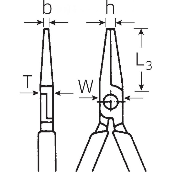
- Snipe nose pliers
- Radio- or telephone pliers
- Multi-component handles
- Chrome-plated Finish
- Made in Germany
