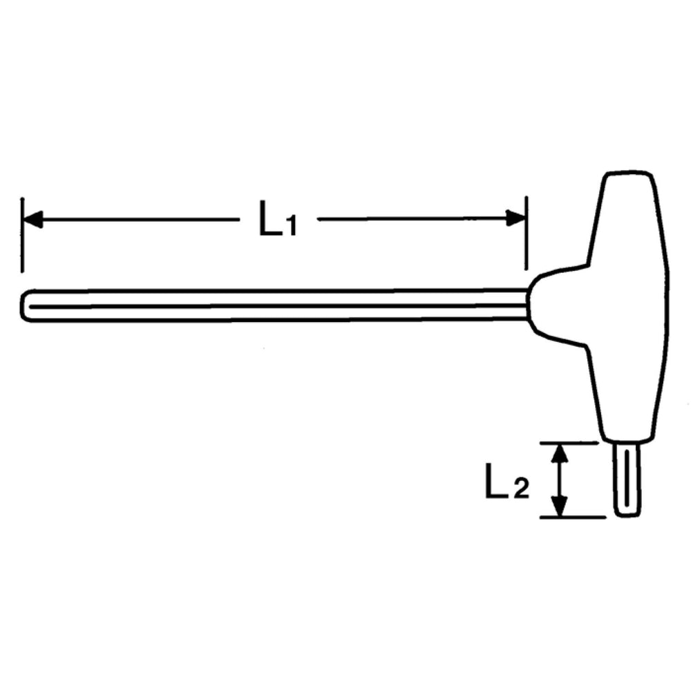
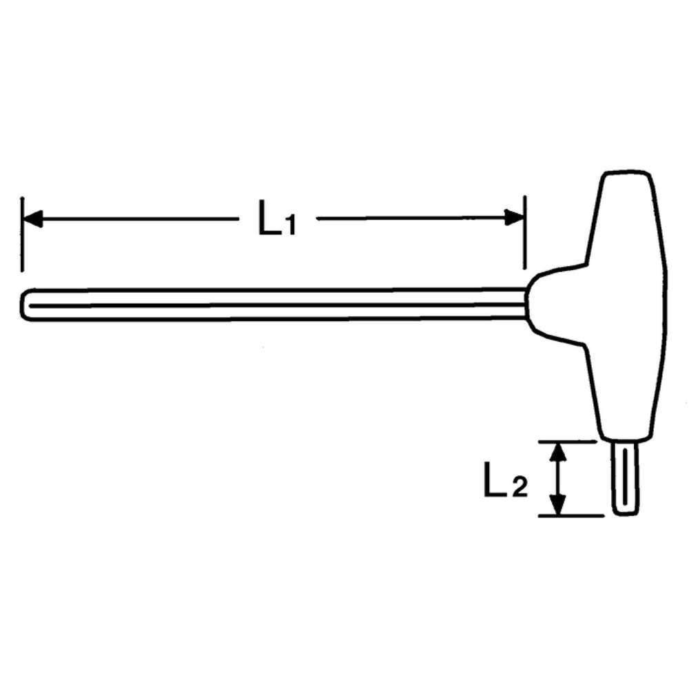
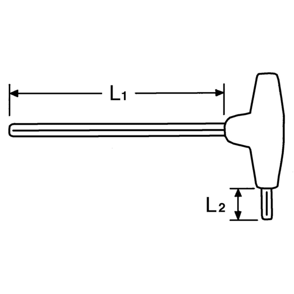
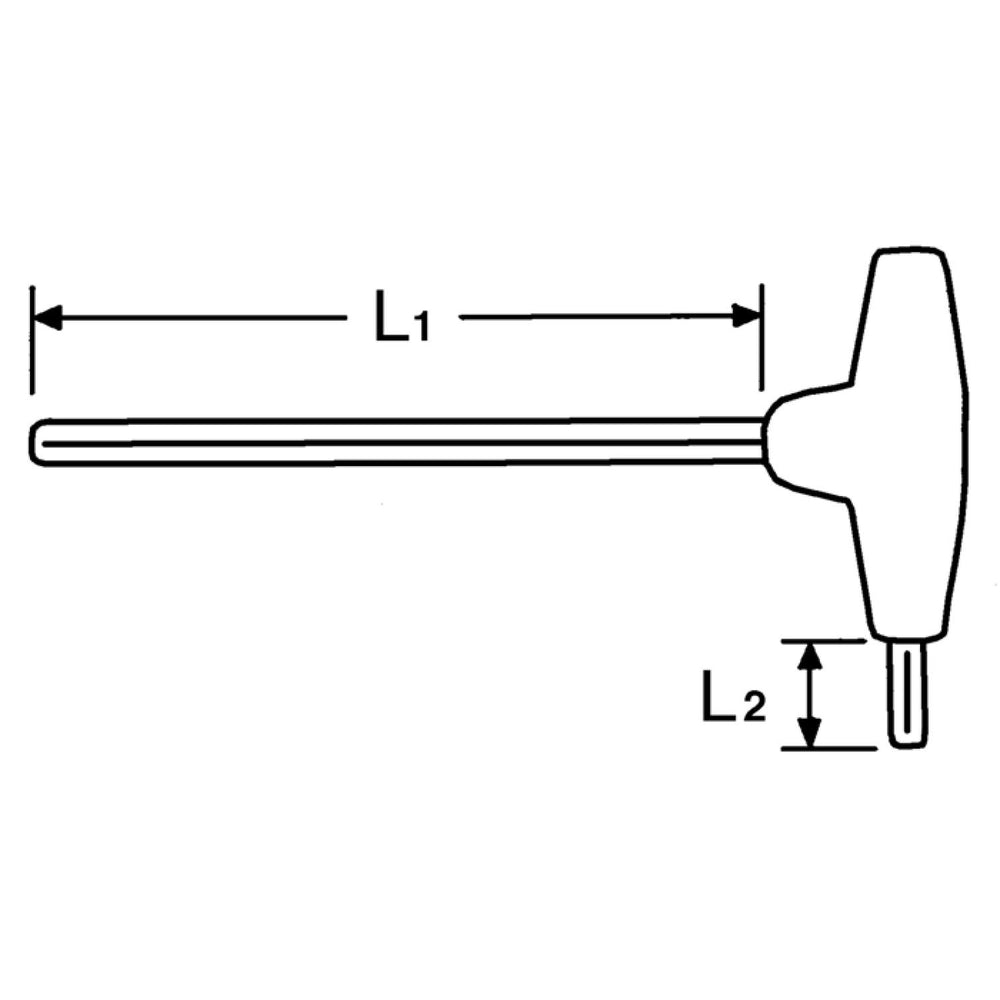
T-Handle Drivers

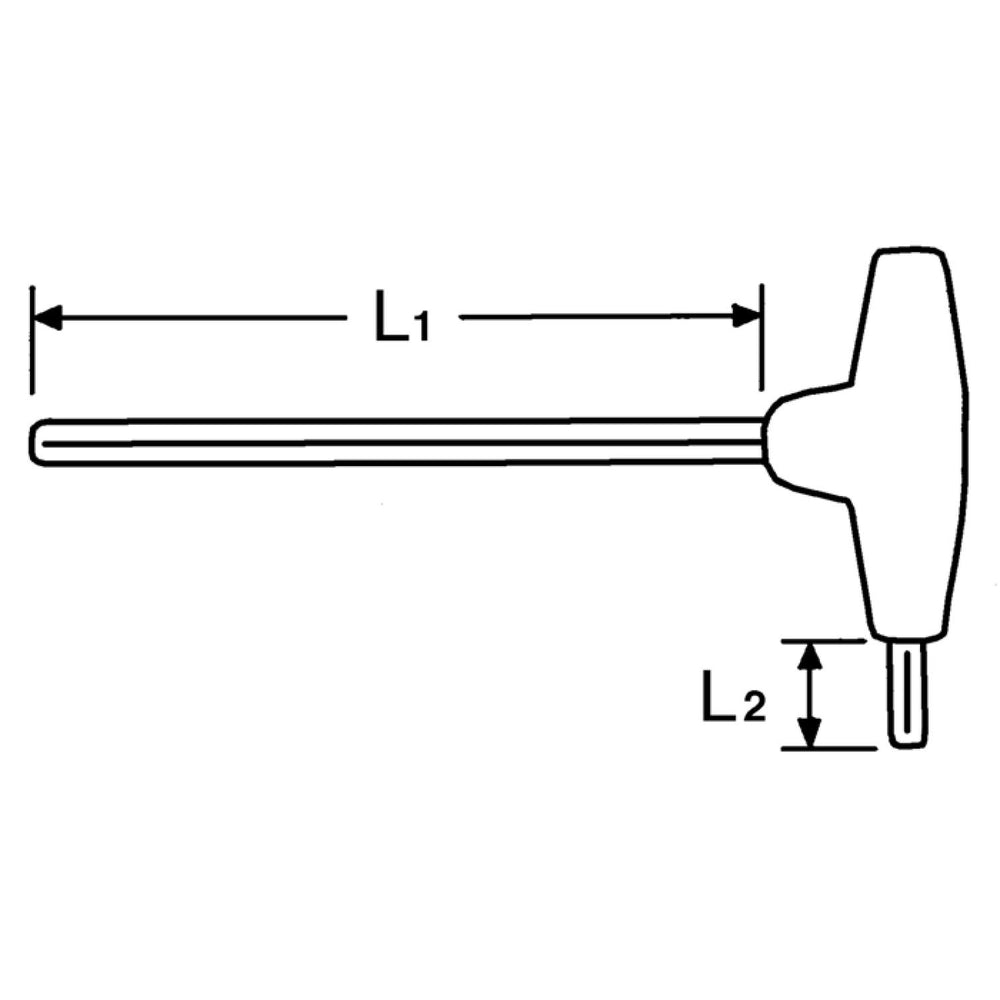
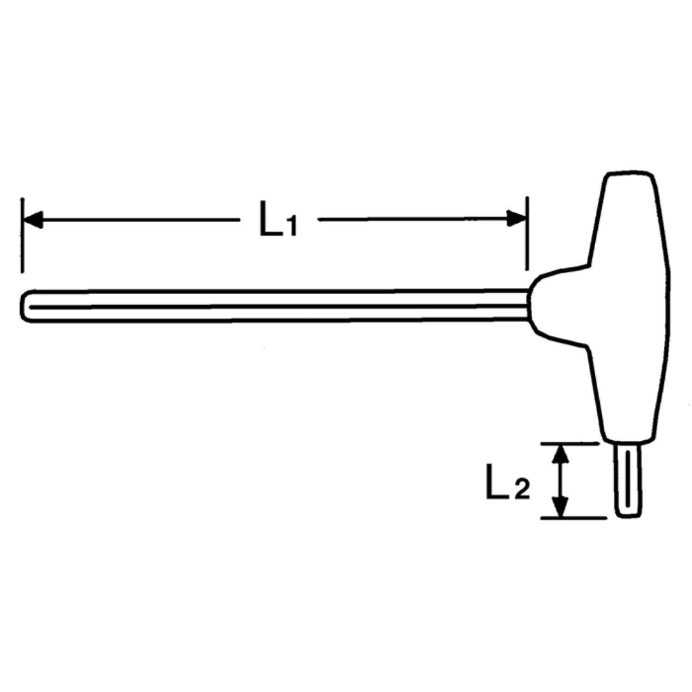
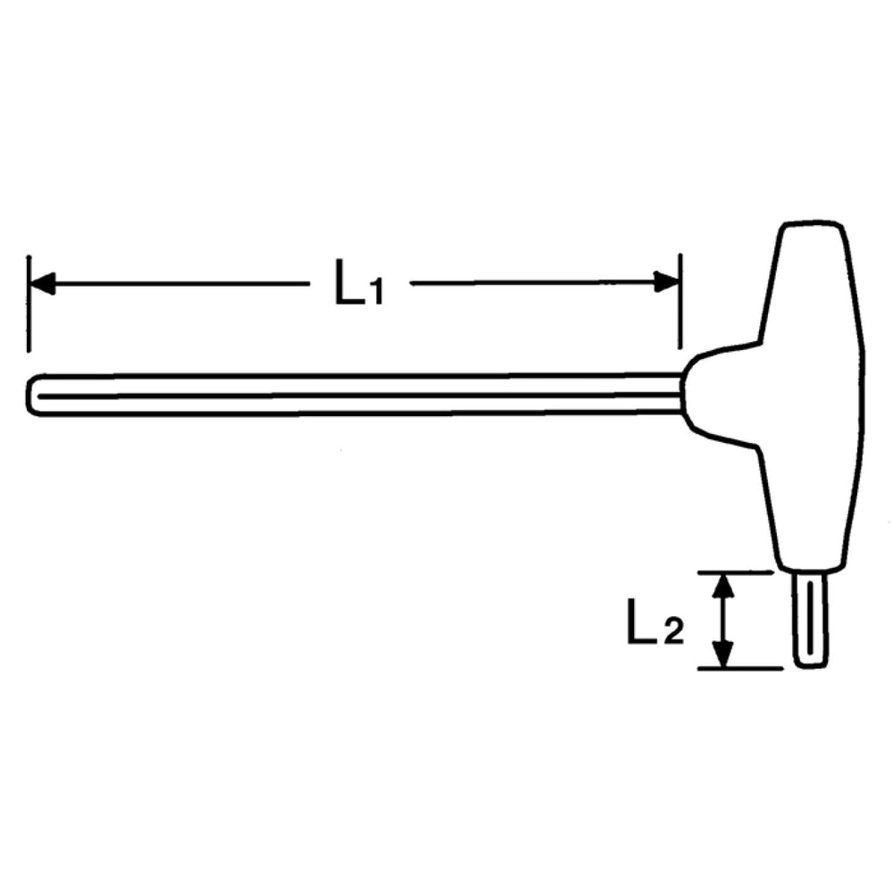
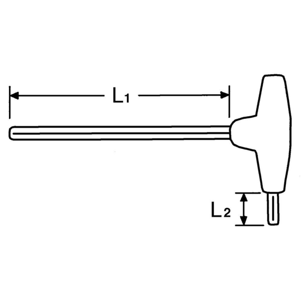
T-Handle Drivers

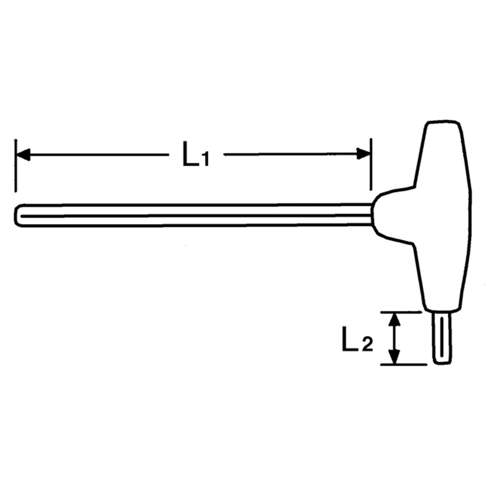
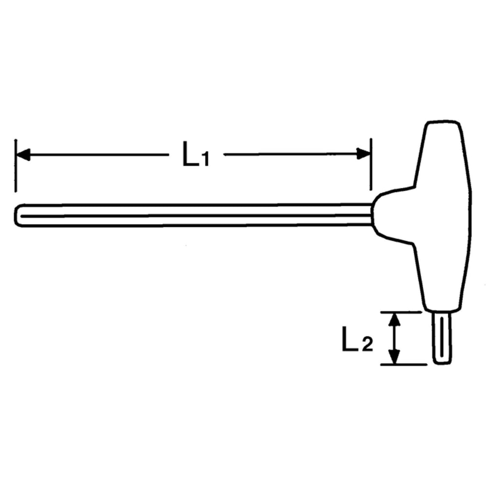
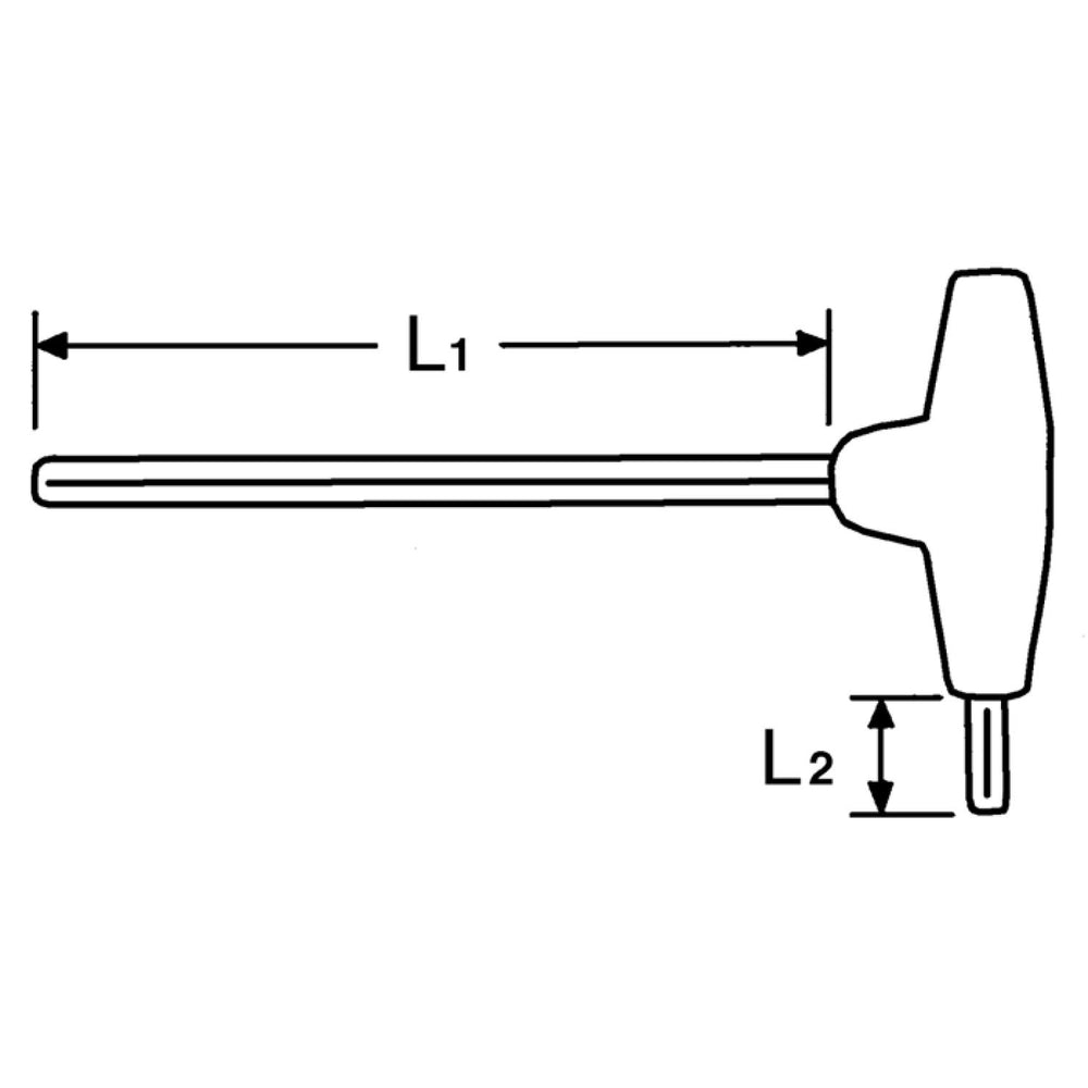
20 products

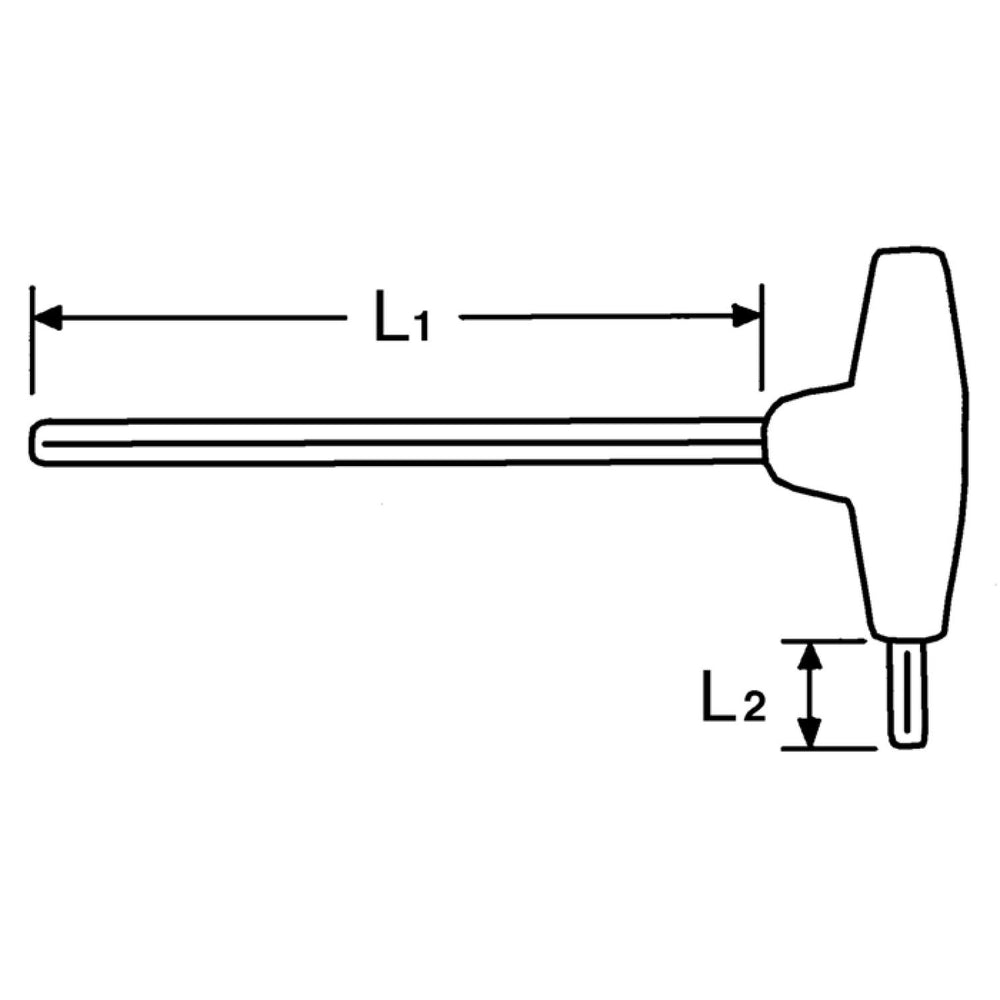
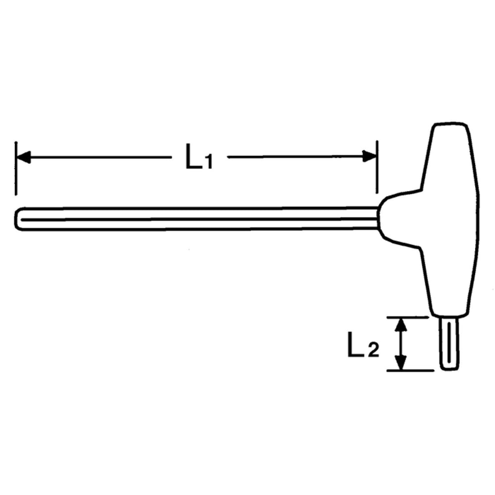
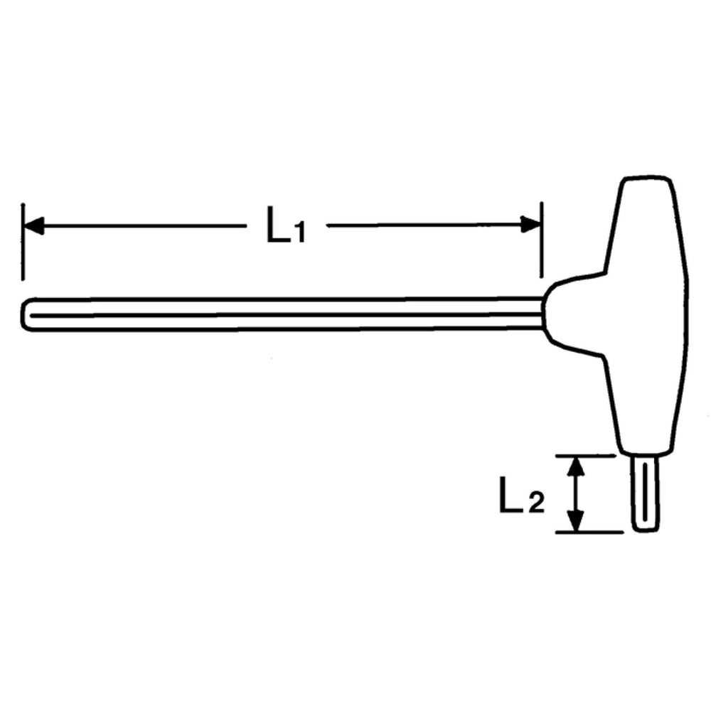
20 products