Regular price$18.89 USD
& FREE Shipping.
/
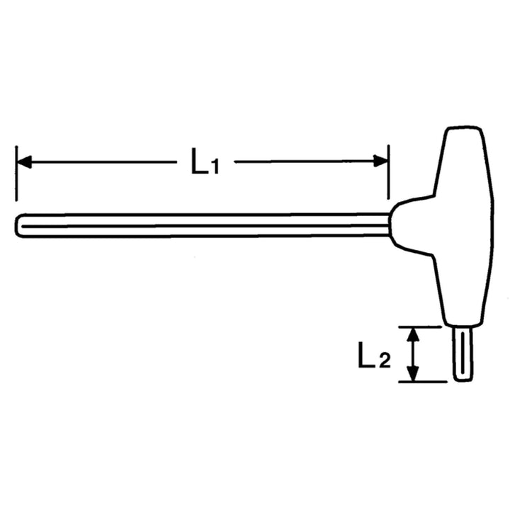
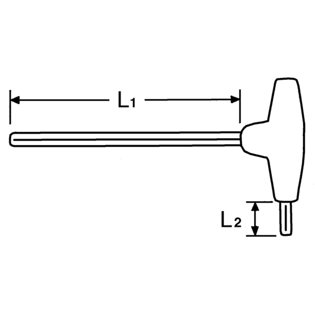
- Ball Head Wrenches
- For Hexagon Socket Screws
- Material : Chrome-Vanadium Steel
- Finish : Chromium Plated
- Made In Germany
